Geodozer писал(а): Вт дек 14, 2021 17:48
А зачем? Один раз собери концепт-самокат, а потом ставь сборку на поток.
И для каждого искать тот самый мотоциклетный, который был в концепте и под этот мотоциклетный еще и уши на раме делать?) Или еще и на каждый самокат по раме мотоцикла покупать
XPOH писал(а): Вт дек 14, 2021 17:52
Давид, шел бы ты учиться... хотя бы в МАДИ...
Хороший совет, осталось найти человека, который бы зарабатывал мне деньги, пока я на парах со вчерашними школьниками сижу
XPOH писал(а): Вт дек 14, 2021 17:52
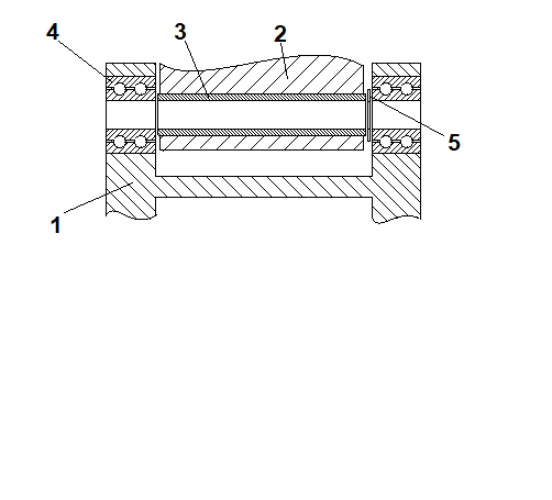
Накидал тут в паинте специалньна для тебя
Так и я такой вариант давно накидал) Но в итоге отказался от подшипников в маятнике, они будут в ухе рамы. Невозможно приварить выточенные посадки так соосно, а точить после сварки маятника в нем посадки- ооооочень дорого
Короче, максимальный примитив, а потом по результатам тестов хотя бы можно будет сформулировать проблему и решать ее. Сейчас у меня даже грамотно сформулированной проблемы нет (сделать рабочий шарнир без люфтов- не та формулировка)
Сделаю так, потом будет ясно почему оно не подходит и не подходит ли
Подшипник взял 3056202- двухрядный радиально-упорный шариковый
Ось 15мм. Относительно ушей рамы и внутренних обойм подшипников неподвижна.
Шайбы капролон/нейлон для защиты от попадания всякой бяки и трения металла об металл
Весь бутерброд с картинки стягивается осью и тестируется, ищутся недочеты и уже над ними думать.
